トップへ 前項目 次項目 索引

メモリを取り付ける

  1. ワークステーション本体および接続されている機器の電源を切り、電源プラグをコンセントから抜きます。
  2. フットを取り外し、ワークステーション本体を横置きにします。
  3. 本体カバーを取り外します(Click)。
  4. フロッピーディスクドライブのフラットケーブルと電源ケーブルを外します。
画像

  1. 留め具のロックボタンを押しながら、ドライブユニットを前に起こします。
    ドライブユニットが垂直になるまで引き起こしてください。
画像

  1. CD-ROMドライブとハードディスクドライブのフラットケーブルや電源ケーブル、およびAUDIOケーブルを外します。
画像

  1. スロットの両側のフックを外側に開き、メモリを取り外します。
画像

ポイント
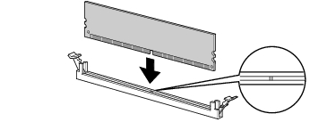
  1. メモリスロットの両側のフックを開いて、メモリをスロットに差し込みます。
    メモリとスロットの切り欠け部分(1ヶ所)を合わせるようにして、スロットに垂直にメモリを差し込みます。
    正しく差し込まれると、スロットの両側のフックが起きます。このとき、フックがメモリをしっかり固定しているか確認してください。
画像

ポイント
  1. 手順6で取り外したCD-ROMドライブとハードディスクドライブのフラットケーブルや電源ケーブル、およびAUDIOケーブルを取り付けます。
画像

  1. ドライブユニットを元の位置に戻し、留め具部分を押さえてロックします。
画像

  1. 手順4で取り外したフロッピーディスクドライブのフラットケーブルと電源ケーブルを取り付けます。
画像

  1. 本体カバーを取り付けます。
  2. フットを取り付け、ワークステーション本体を縦置きにします。
  3. 電源プラグをコンセントに差し込みます。

トップへ 前項目 次項目 索引

All Rights Reserved, Copyright© FUJITSU LIMITED 2003-2004