11 メモリについて
メモリを取り付ける/取り外す
ここでは、本ワークステーションに搭載されているメモリの取り付け/取り外しについて説明します。
メモリの取り付け/取り外しを行う場合は、必ずワークステーション本体の電源を切り、ACアダプタを取り外してください。
感電の原因となります。
取り外したカバー、キャップ、ネジ、電池などの部品は、小さなお子様の手の届かないところに置いてください。
誤って飲み込むと窒息の原因となります。万一、飲み込んだ場合は、すぐに医師に相談してください。
メモリの取り付け/取り外しを行う場合は、端子やICなどに触れないようメモリのふちを持ってください。また、ワークステーション本体内部の部品や端子などにも触れないでください。指の油分などが付着すると、接触不良の原因となることがあります。
メモリの取り付け/取り外しを行う場合は、必ずワークステーション本体の電源を切ってください。スタンバイや休止状態で行うと、データが消失したり、ワークステーション本体やメモリが故障する原因となることがあります。
本ワークステーションのネジを取り外すときは、ネジに合ったプラスのドライバー1番をお使いください。他のドライバーを使うと、ネジの頭をつぶすおそれがあります。
取り付けるメモリは、本ワークステーションでサポートしているメモリをご使用ください。
FMVNM1GH(1GB)、FMVNM51H(512MB)、FMVNM25H(256MB)がお使いになれます。
メモリは次図のように両手でふちを持ってください。金色の線が入っている部分(端子)には、絶対に手を触れないでください。
取り外したネジなどをワークステーション本体内部に落とさないでください。故障の原因となることがあります。
操作に必要な箇所以外には手を触れないでください。故障の原因となることがあります。
メモリは何度も抜き差ししないでください。故障の原因となることがあります。
メモリの表面の端子やIC部分に触れて押さないでください。また、メモリに強い力をかけないようにしてください。
メモリがうまく取り付けられないときは、無理にメモリを取り付けず、いったんメモリを抜いてから再度メモリを取り付け直してください。
メモリを取り付け、メモリの容量を確認するには、BIOSセットアップの「情報」メニューの「メモリスロット」の項目を見ます(
Click
)。「256MB DDR2 SDRAM」などと取り付けたメモリの容量が表示されます。取り付けが正しいにもかかわらず本ワークステーションが起動しない場合は、メモリが故障または不良です。「富士通ハードウェア修理相談センター」、またはご購入元にご連絡ください。
お使いのシステム構成によっては、1MB少なく表示される場合があります。
メモリを1GBなどに増やすときは、あらかじめ取り付けられているメモリを取り外して交換する場合があります。
■ メモリを取り付ける
メモリは、静電気に対して非常に弱い部品で構成されており、人体にたまった静電気により破壊される場合があります。メモリを取り扱う前に、一度金属質のものに手を触れて、静電気を放電してください。
内蔵バッテリパックを取り外します。
「バッテリパックを交換する」の
手順1
〜
3
(
Click
)
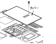
カバーを取り外します。
ワークステーション本体下面のネジを外し、カバーに刻印されている矢印の方向にスライドさせ、取り外します。
メモリを取り付けます。
両手でメモリのふちを持って、メモリの欠けている部分と、コネクタの突起を合わせ、斜め上からしっかり差し込み、パチンと音がするまで下に倒します。
メモリを押さえている両側のツメが、きちんとはまったことを確認してください。
標準スロットと増設スロット以外のスロットには、手を触れないでください。故障の原因となることがあります。
メモリの取り付けを行う場合は、端子やICなどに触れないようメモリのふちを持ってください。
メモリの表面の端子やIC部分に触れて押さないでください。また、メモリに強い力をかけないようにしてください。
メモリがうまく取り付けられないときは、無理にメモリを取り付けず、いったんメモリを抜いてから再度メモリを取り付け直してください。無理にメモリを取り付けようとすると、メモリやコネクタが破損する原因となります。
カバーを取り付け、ネジで固定します。
手順2
で外したカバーを取り付けます。カバーのツメをワークステーション本体のツメ穴に合わせ、刻印されている矢印と逆の方向にスライドさせてください。
内蔵バッテリパックを取り付けます。
「バッテリパックを交換する」の
手順4
(
Click
)
メモリが正しく取り付けられていないと、電源を入れたときに「拡張メモリエラー」というメッセージや英語のメッセージが表示されたり、画面に何も表示されないことがあります。その場合は電源を切り、メモリを取り付け直してください。
■ メモリを取り外す
メモリは、静電気に対して非常に弱い部品で構成されており、人体にたまった静電気により破壊される場合があります。メモリを取り扱う前に、一度金属質のものに手を触れて、静電気を放電してください。
内蔵バッテリパックを取り外します。
「バッテリパックを交換する」の
手順1
〜
3
(
Click
)
カバーを取り外します。
ワークステーション本体下面のネジを外し、カバーに刻印されている矢印の方向にスライドさせ、取り外します。
メモリを取り外します。
メモリを押さえている両側のツメを左右に開き、スロットから取り外します。
標準スロットと増設スロット以外のスロットには、手を触れないでください。故障の原因となることがあります。
カバーを取り付け、ネジで固定します。
手順2
で外したカバーを取り付けます。カバーのツメをワークステーション本体のツメ穴に合わせ、刻印されている矢印と逆の方向にスライドさせてください。
内蔵バッテリパックを取り付けます。
「バッテリパックを交換する」の
手順4
(
Click
)
メモリを交換する場合は、
手順3
の後メモリを取り付けてください。
「メモリを取り付ける」の
手順3
(
Click
)
All Rights Reserved, Copyright© FUJITSU LIMITED 2005