メモリを取り付ける
ここでは、DIMM1に取り付けられているメモリを取り替える作業を例にして、メモリの取り付け方法を説明します。
メモリの取り付けや取り外しを行うときは、本パソコンが倒れないように、本パソコンを支えてください。パソコン本体を横置きにすると、作業しやすくなります。
フロントアクセスベイに内蔵オプションが取り付けられている場合、メモリの取り付けや取り外しが行いにくいことがあります。その場合、「
メモリを取り付ける
」の
手順3
を行った後と本体カバーを外し(
Click
)、フロントアクセスベイに取り付けられている内蔵オプションのネジを外して(
Click
)パソコン前面にずらすと、作業しやすくなります。
なお、内蔵オプションをフロントアクセスベイにもどす際は、内蔵オプションがメモリに接触しないよう注意してください。
電源プラグをコンセントから抜きます。
サイドカバーを取り外します(
Click
)。
メモリ電源LED(
Click
)が消えていることを確認してください。メモリ電源LEDが点灯している場合は、電源ケーブルを外してから作業を続けてください。
支柱を取り外します(
Click
)。
ダクトを取り外します。
ネジ(2ヶ所)を外して、取り外します。
グラフィックカードを取り外します。
グラフィックカードは、AGPコネクタにツメでロックされています。
ツメを外しながら取り外します。
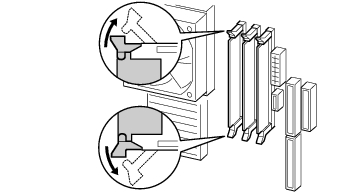
スロットの両側のフックを開いて、メモリを抜きます(取り替える場合)。
フックを勢いよく開くと、メモリが飛び抜け、故障の原因となることがありますので、ご注意ください。
メモリをスロットに差し込みます。
メモリとスロットの切り欠け部分を合わせるようにして、スロットに垂直にメモリを差し込みます。
正しく差し込まれると、スロットの両側のフックが起きます。このとき、フックがメモリをしっかり固定しているか確認してください。
グラフィックカードを取り付けます。
ダクトを取り付けます。
手順4
で取り外したネジ(2ヶ所)で固定します。
支柱を取り付けます。
サイドカバーを取り付けます。
メモリの取り外しは、取り付ける手順を参照して行ってください。
All Rights Reserved, Copyright(c) FUJITSU LIMITED 2002