ユニットを交換する
ここでは、ユニットの交換方法について説明します。
本パソコンをお使いになるときは、必ずモバイルマルチベイにユニットまたはモバイルマルチベイ用カバーを取り付けてください。何も取り付けていない状態でお使いになると、故障の原因となります。
ベイユニット取り外しレバーを起こすとロックが解除され、ユニットが使えなくなることがあります。ベイユニット取り外しレバーは、ユニットを取り外す場合のみ起こしてください。誤ってレバーを操作してしまった場合は、いったんパソコン本体の電源を切り、ユニットを取り外してから再度取り付けてください。
内蔵FDDユニットにセットしたフロッピーディスクから起動する場合は、BIOSセットアップの設定を変更してください。
「詳細」−「USB設定」−「レガシーUSBサポート」:使用する(出荷時設定)
電源が入っている場合は、増設用内蔵バッテリユニットを取り外す前に、内蔵バッテリの残量が十分にあることを確認してください。内蔵バッテリの残量が十分でない場合は、ACアダプタを取り付けてから行ってください。
内蔵FDDユニットを取り外す場合は、内蔵FDDユニットのアクセスランプが点灯していないことを確認してください。
スタンバイまたは休止状態の際は、ユニットの交換/取り外し/取り付けを行わないでください。
「XXX」はお使いのモバイルマルチベイユニットの名称が表示されます。
■ Windows XPの場合
次のユニットを交換する場合は、
手順4
から操作してください。
モバイルマルチベイ用カバー
増設用内蔵バッテリユニット
通知領域の「ハードウェアの安全な取り外し」アイコンをクリックします。
「XXXを安全に取り外します」をクリックします。
XXXには、お使いのモバイルマルチベイユニットの名称が表示されます。
「ハードウェアの取り外し(XXXは安全に取り外すことができます)」と表示されていることを確認します。
ユニットを取り外します。
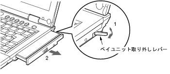
ベイユニット取り外しレバーを起こし(1)、ユニットを取り外します(2)。
新しいユニットを取り付けます。
ユニットのコネクタを奥にして、突き当たるまで、しっかり押し込みます。
ユニットの交換直後は「マイコンピュータ」ウィンドウなどからドライブの表示が消えることがあります。しばらくすると再表示され、使用することができます。
■ Windows 2000の場合
次のユニットを交換する場合は、
手順4
から操作してください。
モバイルマルチベイ用カバー
増設用内蔵バッテリユニット
タスクトレイの「ハードウェアの取り外しまたは取り出し」アイコンをクリックします。
「XXXを停止します」をクリックします。
「OK」をクリックします。
ユニットを取り外します。
Windows XPの場合の
手順4
を参照し、ユニットを取り外します。
新しいユニットを取り付けます。
Windows XPの場合の
手順5
を参照し、ユニットを取り付けます。
ユニットの交換直後は「マイコンピュータ」ウィンドウなどからドライブの表示が消えることがあります。しばらくすると再表示され、使用することができます。
All Rights Reserved, Copyright© FUJITSU LIMITED 2004