トップへ 前項目 次項目 索引

その他の周辺機器を取り付ける

■ 3.5インチフロントアクセスベイに取り付ける

3.5インチ内蔵ハードディスク、光磁気ディスクドライブなどの周辺機器を取り付ける方法は、次のとおりです(IDE-RAIDモデルは除く)。ここでは、光磁気ディスクドライブを例に、取り付け方法を説明します。

  1. 周辺機器の設定を行います。
    周辺機器に添付のマニュアルをご覧になり、マスター/スレーブ/ケーブルセレクトの設定をしてください。
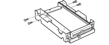
  2. 取り付ける周辺機器の両側に金具がついている場合は、金具を取り外します。
    ネジ(4ヶ所)を外して、取り外します。
画像

  1. 電源プラグをコンセントから抜きます。
  2. アッパーカバーを取り外します(Click)。
  3. CD-ROMドライブのフラットケーブルと電源ケーブルを外します。
画像

  1. ドライブユニットを取り外します。
    ドライブユニット固定レール(2ヶ所)を内側に押しながら、ゆっくり引き出します。
画像

  1. フロントカバーを取り外します。
    ドライブユニット固定レールを外した後、ドライブユニットを裏返し、ツメを押しながらフロントカバーを取り外します。
画像

  1. アクセスベイのカバーを取り外します。
    金属製のカバーは、ネジ(2ヶ所)を外して、取り外します。カバーは必要に応じて取り外してください。ハードディスクを取り付ける場合、カバーを取り外す必要はありません。
画像

  1. アクセスベイに周辺機器を取り付けます。
    手順2で外したネジ(4ヶ所)で固定します。
画像

ポイント
  1. フロントカバーを取り付けます。
    ドライブユニットを表に戻して、フロントカバーをはめ込みます。
画像

  1. ドライブユニットを取り付けます。
    手順6で外したドライブユニット固定レールを取り付けた後、ドライブユニットを本体に取り付けます。
    ドライブユニットはフロントアクセスベイの正面から、まっすぐに入れてください。斜めに入れた場合、周辺機器を傷つけ、故障の原因となることがあります。
画像

  1. フラットケーブルを接続します。
    手順5で外したフラットケーブルを、CD-ROMドライブに接続します。
    周辺機器はプライマリのスレーブに接続します。
画像

画像

  1. 電源ケーブルを接続します。
    使っていない電源ケーブルを取り付けた周辺機器のコネクタに接続します。
    手順5で外した電源ケーブルをCD-ROMドライブに接続します。
画像

  1. アッパーカバーを取り付けます。
ポイント

トップへ 前項目 次項目 索引

All Rights Reserved, Copyright© FUJITSU LIMITED 2003