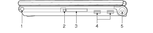
パソコン本体右側面
各番号をクリックすると説明箇所へジャンプします。
各コネクタに周辺機器を接続する場合は、コネクタの向きを確めて、まっすぐ接続してください。
ペン(タッチパネル搭載モデルのみ)
タッチパネルを操作するペンが収納されています。
「ハードウェア」−「タッチパネルについて」
コンパクトフラッシュカード取り出しボタン
コンパクトフラッシュカードを取り出すときに押します。
「ハードウェア」−「コンパクトフラッシュカードを取り出す」
コンパクトフラッシュカードスロット
別売のコンパクトフラッシュカードをセットするためのスロットです。
「ハードウェア」−「コンパクトフラッシュカードをセットする」
ご購入時には、コンパクトフラッシュカードスロットに、ダミーカードがセットされています。
USBコネクタ
FDDユニット(USB)やUSB接続に対応したプリンタなど、USB規格の周辺機器を接続するためのコネクタです。2ポートあります。USB規格の周辺機器をどちらのポートに接続してもかまいません。また、ポートリプリケータ接続時にも、お使いになれます。
USB2.0に準拠しているため、USB1.1およびUSB2.0に対応した機器が接続できます。
ハブなどを経由してUSB2.0に対応した機器を接続した場合、ハブの性能によって接続した機器の性能が低下することがあります。
盗難防止用ロック
市販の盗難防止用ケーブルを接続することができます。
盗難防止用ロックは、Kensington社製のマイクロセーバーセキュリティシステムに対応しています。なお、次のもの以外は取り付けられない場合があります。
商品名:スリムマイクロセーバー
商品番号:0522011(黒色ワイヤー)、0522040(白色ワイヤー)
(富士通コワーコ株式会社 お問い合わせ:0120-505-279)
All Rights Reserved, Copyright© FUJITSU LIMITED 2005