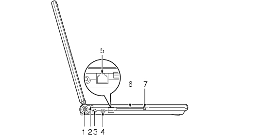
パソコン本体左側面
各番号をクリックすると説明箇所へジャンプします。
各コネクタに周辺機器を接続する場合は、コネクタの向きを確かめて、まっすぐ接続してください。
DC-INコネクタ
添付のACアダプタを接続するためのコネクタです。
バッテリ表示ランプ
ACアダプタを接続しているときに点灯します。
バッテリ充電時はオレンジ色に点灯し、満充電時は緑色に点灯します。
マイク端子、ヘッドホン端子に接続するときは、【Fn】+【F8】キーを押してパソコン本体の音量を最小にしてから接続してください。
機器が破損したり、刺激音により聴力に悪い影響を与える原因となることがあります。
マイク端子
市販のマイクを接続し、音声(モノラル)を録音するための端子です(外径3.5mmのミニプラグに対応)。
ただし、市販されているマイクの一部の機種(ダイナミックマイクなど)には、使用できないものがあります。ご購入前に確認してください。
また、設定を変更することにより、ラインイン端子として使用することもできます。
設定を変更する方法については、
「機能」−「ヘッドホン端子/マイク端子の機能を切り替える」
をご覧ください。
ヘッドホン端子
市販のヘッドホンを接続するための端子です(外径3.5mmのミニプラグに対応)。ただし、形状によっては取り付けられないものがあります。ご購入前に確認してください。
また、設定を変更することにより、ラインアウト端子として使用することもできます。
設定を変更する方法については、
「機能」−「ヘッドホン端子/マイク端子の機能を切り替える」
をご覧ください。
ヘッドホンやイヤホンをご使用になるときは、音量を上げすぎないでください。
耳を刺激するような大きな音量で聞くと、聴力に悪い影響を与える原因となることがあります。
電源を入れたり切ったりする前には音量を最小にしておいてください。また、ヘッドホンやイヤホンをしたまま、電源を入れたり切ったりしないでください。
突然大きな音や刺激音が出て、聴力に悪い影響を与える原因となることがあります。
モデムコネクタ(モデム搭載モデルのみ)
モジュラーケーブルを接続するためのコネクタです。
内蔵モデムについては
「カスタムメイドオプション」
にあるマニュアルをご覧ください。
PCカードスロット
別売のPCカードをセットするためのスロットです。
「ハードウェア」−「PCカードをセットする」
PCカード取り出しボタン
PCカードを取り出すときに押します。
「ハードウェア」−「PCカードを取り出す」
All Rights Reserved, Copyright© FUJITSU LIMITED 2005