8 メモリについて
メモリを取り付ける/取り外す
メモリの取り付け/取り外しを行う場合は、必ずパソコン本体の電源を切り、ACアダプタや周辺機器を取り外してください。スタンバイや休止状態では、取り付け/取り外しを行わないでください。
感電の原因となります。また、データが消失したり、パソコン本体やメモリが故障する原因となることがあります。
取り外したカバー、キャップ、ネジ、電池などの部品は、小さなお子様の手の届かないところに置いてください。
誤って飲み込むと窒息の原因となります。万一、飲み込んだ場合は、すぐに医師に相談してください。
本パソコンのネジを取り外すときは、ネジに合ったプラスのドライバー1番をお使いください。他のドライバーを使うと、ネジの頭をつぶすおそれがあります。
取り付けるメモリは、本パソコンでサポートしているメモリをご使用ください。
FMVNM1GH(1GB)、FMVNM51H(512MB)、FMVNM25H(256MB)がお使いになれます。なお、本パソコンではPC2-3200相当の性能で動作します。
メモリは次図のように両手でふちを持ってください。金色の線が入っている部分(端子)には、絶対に手を触れないでください。指の油分などが付着すると、接触不良の原因となることがあります。
操作に必要な箇所以外には手を触れないでください。故障の原因となることがあります。
取り外したネジなどをパソコン本体内部に落とさないでください。故障の原因となることがあります。
メモリは何度も抜き差ししないでください。故障の原因となることがあります。
メモリの表面の端子やIC部分に触れて押さないでください。また、メモリに強い力をかけないようにしてください。
メモリがうまく取り付けられないときは、無理にメモリを取り付けず、いったんメモリを抜いてから再度メモリを取り付け直してください。
メモリを取り付け、メモリの容量を確認するには、BIOSセットアップの「情報」メニューの「メモリスロット」の項目を見ます(
Click
)。「256MB DDR2 SDRAM」などと取り付けたメモリの容量が表示されます。取り付けが正しいにもかかわらず本パソコンが起動しない場合は、メモリが故障または不良です。「富士通ハードウェア修理相談センター」またはご購入元にご連絡ください。
本パソコンは、メインメモリの一部をビデオメモリで使用しています。そのため、起動時の自己診断(POST)時やOSの画面に表示されるメモリの容量は、取り付けたメモリの総容量より、8MBから128MB少なく表示されます。
また、お使いのシステム構成によっては、さらに1MB少なく表示される場合があります。
メモリを増やすときは、あらかじめ取り付けられているメモリを取り外して交換する場合があります。
■ メモリを取り付ける
メモリは、静電気に対して非常に弱い部品で構成されており、人体にたまった静電気により破壊される場合があります。メモリを取り扱う前に、一度金属質のものに手を触れて、静電気を放電してください。
内蔵バッテリパックを取り外します。
「バッテリパックを交換する」
の
手順1
〜
3
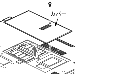
カバーを取り外します。
パソコン本体下面のネジを外し、カバーに刻印されている矢印の方向にスライドさせ、取り外します。
メモリを取り付けます。
両手でメモリのふちを持って、メモリの欠けている部分と、コネクタの突起を合わせ、斜め上からしっかり差し込み、パチンと音がするまで下に倒します。
メモリを押さえている両側のツメが、きちんとはまったことを確認してください。
標準スロットと増設スロット以外のスロットには、手を触れないでください。故障の原因となることがあります。
メモリの取り付けを行う場合は、端子やICなどに触れないようメモリのふちを持ってください。
メモリの表面の端子やIC部分に触れて押さないでください。また、メモリに強い力をかけないようにしてください。
メモリがうまく取り付けられないときは、無理にメモリを取り付けず、いったんメモリを抜いてから再度メモリを取り付け直してください。無理にメモリを取り付けようとすると、メモリやコネクタが破損する原因となります。
カバーを取り付け、ネジで固定します。
手順2
で外したカバーを取り付けます。カバーのツメをパソコン本体のツメ穴に合わせ、刻印されている矢印と逆の方向にスライドさせてください。
内蔵バッテリパックを取り付けます。
「バッテリパックを交換する」
の
手順4
メモリが正しく取り付けられていないと、電源を入れたときに「拡張メモリエラー」というメッセージや英語のメッセージが表示されたり、画面に何も表示されないことがあります。その場合は電源を切り、メモリを取り付け直してください。
■ メモリを取り外す
メモリは、静電気に対して非常に弱い部品で構成されており、人体にたまった静電気により破壊される場合があります。メモリを取り扱う前に、一度金属質のものに手を触れて、静電気を放電してください。
内蔵バッテリパックを取り外します。
「バッテリパックを交換する」
の
手順1
〜
3
カバーを取り外します。
パソコン本体下面のネジを外し、カバーに刻印されている矢印の方向にスライドさせ、取り外します。
メモリを取り外します。
メモリを押さえている両側のツメを左右に開き、スロットから取り外します。
拡張RAMモジュールスロット以外のスロットには、手を触れないでください。故障の原因となることがあります。
カバーを取り付け、ネジで固定します。
手順2
で外したカバーを取り付けます。カバーのツメをパソコン本体のツメ穴に合わせ、刻印されている矢印と逆の方向にスライドさせてください。
内蔵バッテリパックを取り付けます。
「バッテリパックを交換する」
の
手順4
メモリを交換する場合は、
手順3
の後メモリを取り付けてください。
「メモリを取り付ける」
の
手順3
All Rights Reserved, Copyright© FUJITSU LIMITED 2005