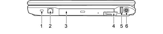
パソコン本体右側面
各番号をクリックすると説明箇所へジャンプします。
盗難防止用ロック取り付け穴
市販の盗難防止用ケーブルを接続することができます。
モデムコネクタ(
)
モジュラーケーブルを接続するためのコネクタです。
内蔵モデムについては、
『内蔵モデムをお使いになる方へ』
をご覧ください。
マルチベイ
カスタムメイドの選択により、以下のいずれかが取り付けられています。
内蔵CD-ROMドライブユニット
内蔵DVD-ROM&CD-R/RWドライブユニット
内蔵スーパーマルチドライブユニット
ユニットは交換することができます。
「ハードウェア」−「マルチベイについて」
マルチベイに何も取り付けていない状態では、本パソコンを使用しないでください。故障の原因となります。
ベイユニット取り外しレバー
マルチベイに取り付けられているユニットを取り外す場合にレバーを起こします。
「ハードウェア」−「ユニットを交換する」
USBコネクタ(
)
FDDユニット(USB)など、USB規格の周辺機器を接続するためのコネクタです。
USB2.0に準拠しているため、USB1.1およびUSB2.0に対応した機器が接続できます。
ハブなどを経由してUSB2.0に対応した機器を接続した場合、ハブの性能によって接続した機器の性能が低下することがあります。
ビデオ出力(Sビデオ)端子(
)
パソコンの映像をテレビに表示するときに、S映像信号を出力するためのコネクタです。
「ハードウェア」−「外部ディスプレイについて」
All Rights Reserved, Copyright© FUJITSU LIMITED 2006