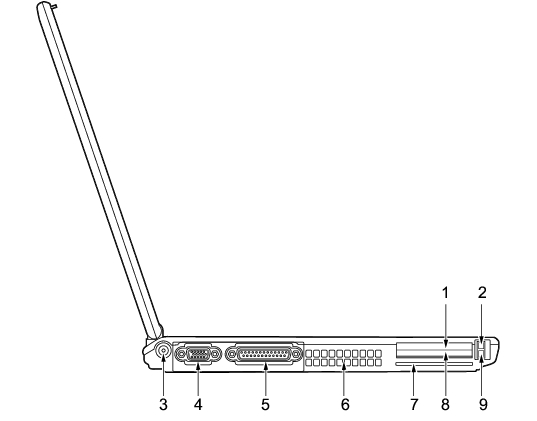
パソコン本体左側面
各番号をクリックすると説明箇所へジャンプします。
各コネクタに周辺機器を接続する場合は、コネクタの向きを確かめて、まっすぐ接続してください。
ExpressCardスロット(
)
お使いになるExpressCardをセットするためのスロットです。
「ハードウェア」−「ExpressCardをセットする」
ExpressCard取り出しボタン
ExpressCardを取り出すときに押します。
「ハードウェア」−「ExpressCardを取り出す」
DC-INコネクタ(
)
添付のACアダプタを接続するためのコネクタです。
外部ディスプレイコネクタ(アナログ)(
)
アナログディスプレイなど、外部ディスプレイを接続するためのコネクタです。
「ハードウェア」−「外部ディスプレイについて」
パラレルコネクタ(
)
プリンタなどを接続するためのコネクタです。
排気孔
パソコン本体内部の熱を外部に逃がすためのものです。
パソコンの電源を入れると、内部のファンが数秒間回転します。また、パソコン本体内部の温度が高くなると内部のファンが回転し、熱が放出されます。このため、起動時や動作中にファンによる回転音が発生しますが、パソコンの冷却のためであり、異常ではありません。
排気孔をふさがないでください。
内部に熱がこもり、火災の原因となることがあります。
排気孔からは熱風が出ます。排気孔付近には手を触れないでください。
排気孔の近くに物を置かないでください。排気孔からの熱で、排気孔の近くに置かれた物が熱くなることがあります。
スマートカードスロット(
)
スマートカードを挿入するためのスロットです。
スマートカードの挿入方法については、
『SMARTACCESSファーストステップガイド(認証デバイスをお使いになる方へ)』
をご覧ください。
PCカードスロット(
)
PCカードをセットするためのスロットです。
「ハードウェア」−「PCカードをセットする」
PCカード取り出しボタン
PCカードを取り出すときに押します。
「ハードウェア」−「PCカードを取り出す」
All Rights Reserved, Copyright© FUJITSU LIMITED 2006