トップへ 前項目 次項目 索引

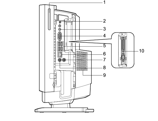
パソコン本体右側面

各番号をクリックすると説明箇所へジャンプします。

画像

  1. スマートカードベイ(画像
    カスタムメイドで選択したスマートカードリーダ/ライタを取り付けます。
  2. ラインアウト端子(画像
    サウンド出力用端子です。オーディオ機器の入力端子と接続します。
    スピーカーを直接接続する場合は、アンプ機能内蔵のものをお使いください。
    なお、この端子に機器を接続している場合は、本パソコン内蔵のスピーカーからは音が出ません。また、ヘッドホン端子にヘッドホンを接続している場合、ラインアウト端子からは音が出ません。
  3. ラインイン端子(画像
    サウンド入力用端子です。オーディオ機器の出力端子と接続します。
  4. ディスプレイコネクタ
    外付けのディスプレイを接続します。アナログRGB規格のディスプレイケーブルが使用できます。
    「機能」−「ディスプレイ関連」
  5. USBコネクタ(画像
    USB規格の周辺機器を接続します。USB 2.0に準拠しています。
  6. LANコネクタ(画像
    LANケーブルを接続します。
画像

LEDの意味は、次のとおりです。

1000MbpsでLINKを確立
100MbpsでLINKを確立
10MbpsでLINKを確立

データ転送中:緑色点滅
  1. マウスコネクタ(画像
    PS/2マウスを接続します。
    「ハードウェア」−「マウスについて」
  2. キーボードコネクタ(画像
    PS/2キーボードを接続します。
    「ハードウェア」−「キーボードについて」
  3. 通風孔
    パソコン本体内部の熱を外部に逃すための開孔部があります。ふさがないようにご注意ください。
  4. 拡張カードスロット
    カスタムメイドで選択したパラレルコネクタとシリアルコネクタ、または無線LANが取り付けられています。
    パラレルコネクタやシリアルコネクタにケーブルを接続する場合は、コネクタカバーのスロット部分を開いてください。
    「パラレルコネクタやシリアルコネクタにケーブルを接続する場合」

■ パラレルコネクタやシリアルコネクタにケーブルを接続する場合

次の手順でコネクタカバーのスロット部分を開いてください。

  1. パソコン本体からコネクタカバーを取り外します。
    取り外す方法は『取扱説明書』をご覧ください。
  2. コネクタカバーのスロット部分を取り外します。
画像

  1. パソコン本体にコネクタカバーを取り付けます。
    取り付け方法は『取扱説明書』をご覧ください。

トップへ 前項目 次項目 索引

All Rights Reserved, Copyright© FUJITSU LIMITED 2006