本書のTOPへ 前項目 次項目 索引

1 各部の名称と働き

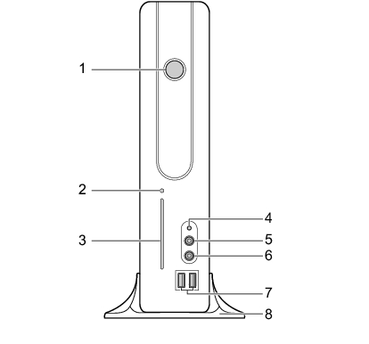
パソコン本体前面

各番号をクリックすると説明箇所へジャンプします。

画像

  1. 電源ボタン/電源ランプ(画像
    次の場合に押します。
    また、電源ボタンは電源ランプになっており、パソコン本体の電源の状態を表しています。
    緑色に点灯しているときは、電源が入っています。
    オレンジ色に点灯しているときは、スタンバイ状態(省電力状態)です。
  2. スマートカードアクセスランプ(画像
    スマートカードにアクセスしているときに点滅します。
  3. スマートカード専用スロット
    別売のスマートカードをセットするためのスロットです。
  4. 内蔵フラッシュメモリアクセスランプ(画像
    内蔵フラッシュメモリにアクセスしているときに点灯します。
  5. ヘッドホン端子(画像
    市販のヘッドホンを接続します。
    ヘッドホンを接続している間は、パソコン本体のラインアウト端子からは、音が出ません。
  6. マイク端子(画像
    Citirix Presentation Server のAdvanced Edition、またはEnterprise Edition のみで使用できます。
    市販のコンデンサマイクを接続します。
  7. USBコネクタ(画像
    USB規格の周辺機器を接続します。USB2.0に準拠しています。
  8. スタンド
    本パソコンをお使いになるときに取り付ける台座です(→『取扱説明書』)。

本書のTOPへ 前項目 次項目 索引

All Rights Reserved, Copyright© FUJITSU LIMITED 2007