本書のTOPへ 前項目 次項目 索引

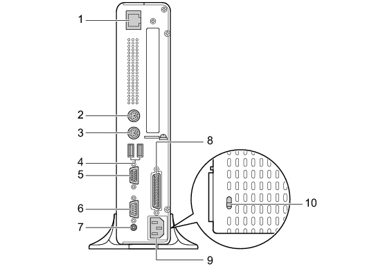
パソコン本体背面

各番号をクリックすると説明箇所へジャンプします。

画像

  1. LANコネクタ(画像
    LANケーブルを接続します。
画像

LEDの意味は、次のとおりです。
 
下部LED(Link/Act)
上部LED(Speed)
1000MbpsでLINKを確立
緑色点灯
オレンジ点灯
100MbpsでLINKを確立
緑色点灯
緑色点灯
10MbpsでLINKを確立
緑色点灯
消灯
注 :
データ転送中:緑色点滅
「動作環境の設定」−「LANについて」
  1. キーボードコネクタ(画像
    PS/2キーボードを接続します。
    「ハードウェア」−「キーボードについて」
  2. マウスコネクタ(画像
    PS/2マウスを接続します。
    「ハードウェア」−「マウスについて」
  3. USBコネクタ(画像
    USB規格の周辺機器を接続します。USB2.0に準拠しています。
  4. ディスプレイコネクタ(画像
    ディスプレイを接続します。アナログRGB規格のディスプレイケーブルが使用できます。
  5. シリアルコネクタ(画像
    RS-232C規格に対応した機器を接続するためのコネクタです。
  6. ラインアウト端子(画像
    サウンド出力用端子です。オーディオ機器の入力端子と接続します。
    スピーカーを直接接続する場合は、アンプ機能内蔵のものをお使いください。
    また、ヘッドホン端子にヘッドホンを接続している場合、ラインアウト端子からは音が出ません。
  7. パラレルコネクタ(画像
    プリンタなどを接続するためのコネクタです。
    「ハードウェア」−「プリンタについて」
  8. インレット
    電源ケーブルを接続します。
  9. 盗難防止用ロック取り付け穴
    市販の盗難防止用ケーブルを接続します。

本書のTOPへ 前項目 次項目 索引

All Rights Reserved, Copyright© FUJITSU LIMITED 2007