本書のTOPへ 前項目 次項目 索引

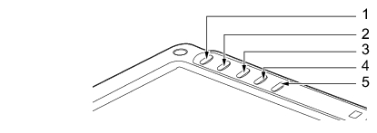
3 タブレットボタンについて

タブレットボタンは、パソコンの各種機能を呼び出すためのボタンです。ボタンを押すだけでソフトウェアの起動などが行えます。

各番号をクリックすると説明箇所へジャンプします。

画像

  1. 【Ctrl】+【Alt】+【Delete】ボタン
    2秒以上押し続けると、キーボードで【Ctrl】+【Alt】+【Delete】キーを押したときの動作をします。
  1. Fnボタン
    本パソコン独自のボタンです。他のボタンと組み合わせて使用します。2回押すと本パソコンを使用するのに便利な「富士通メニュー」が表示されます。
  1. ローテーションボタン
    画面の縦横の表示を切り替えます。
  1. Bボタン(Page Upボタン)
    前のページに切り替えるときに使います。
  1. Aボタン(Page Downボタン)
    次のページに切り替えるときに使います。
ポイント

「Fn」ボタンを押した後、他のボタンを押すと、次のような機能で使うことができます。

ボタン
機能
Aボタン
電卓が起動します。
Bボタン
Windows Journalが起動します。

ポイント

本書のTOPへ 前項目 次項目 索引

All Rights Reserved, Copyright© FUJITSU LIMITED 2007