本書のTOPへ 前項目 次項目 索引

4 セキュリティボタンについて

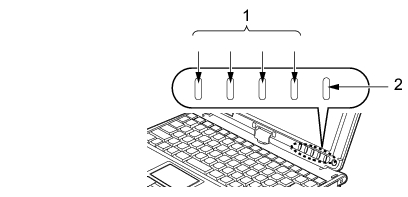
セキュリティボタンには、数字ボタンとEnterボタンがあります。

各番号をクリックすると説明箇所へジャンプします。

画像

  1. 数字ボタン
    パスワードを入力するときに押します。
  1. Enterボタン
    パスワードを設定するとき、または入力したパスワードを確定してセキュリティを解除するときに押します。
ポイント

本書のTOPへ 前項目 次項目 索引

All Rights Reserved, Copyright© FUJITSU LIMITED 2007