パソコン本体上面

各番号をクリックすると説明箇所へジャンプします。

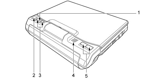
画像 リンク先へ リンク先へ リンク先へ リンク先へ リンク先へ
  1. Fnボタン
    本パソコン独自のボタンです。他のボタンと組み合わせて使用します。2回押すと本パソコンを使用するのに便利な「Fujitsu Menu」が表示されます。
  2. スティックポイント
    指先で前後左右に押してマウスポインタを操作します。
    「取り扱い」−「ポインティングデバイス」
  3. スクロールボタン
    画面をスクロールさせます。
    Fnボタンを押した後に「Upボタン」、「Downボタン」を押しても同じ役割をします。
  4. スピーカー
    本パソコンの音声が出力されます。
    「取り扱い」−「音量(Windows Vistaの場合)」
    「取り扱い」−「音量(Windows XPの場合)」
重要
  • 音量は、スピーカーから聞こえる音がひずまない範囲に設定や調整をしてください。スピーカーが故障する原因となります。
  1. クリックボタン
    左右のボタンは、それぞれマウスの左右のボタンに相当し、その機能はソフトウェアにより異なります。
    「取り扱い」−「スティックポイント」
POINT
  • 「Fujitsu Menu」はディスプレイの明るさの設定や、音量の設定などの各種設定を、簡単に行えるメニューです。
  • 「Fujitsu Menu」は必要に応じてファイルやソフトウェアの起動を追加登録することができます。
    1. 「Fujitsu Menu」が表示されていない場合は、Fnボタンを2回押します。
      「Fujitsu Menu」が表示されます。
    2. 「編集」をクリックします。
      「Fujitsu Menuの編集」ウィンドウが表示されます。
    3. 「項目と追加と削除」タブの「メニューから選択」で、追加したいアプリケーションを選択します。
    4. 「追加」ボタンをクリックします。
      メニュー項目に追加されます。
    5. 「OK」をクリックします。
      「Fujitsu Menu」に項目が追加されます。
  • ボタンパネルを無効にしている場合、Fnボタンを2回押しても「Fujitsu Menu」は表示されません。この場合、通知領域の「Fujitsu Menu」アイコンをダブルクリックすることで表示させることができます。
    通知領域に「Fujitsu Menu」アイコンが表示されない場合は、「C:\ProgramFiles\Fujitsu\Utils\FjMenu.exe」を実行して「Fujitsu Menu」を表示させてください。