ポートリプリケータ

重要
  • カスタムメイドの選択により、ポートリプリケータが添付されています。

各番号をクリックすると説明箇所へジャンプします。

画像 リンク先へ リンク先へ リンク先へ リンク先へ リンク先へ リンク先へ リンク先へ リンク先へ
重要
  • コネクタに周辺機器を接続する場合は、コネクタの向きを確認し、まっすぐ接続してください。
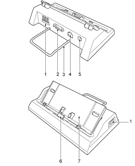
  1. USBコネクタ(画像
    USB接続に対応したプリンタなど、USB規格の周辺機器を接続するためのコネクタです。4ポートあります。パソコン本体とあわせて5ポートお使いになれます。
    USB2.0に準拠しているため、USB1.1およびUSB2.0に対応した機器が接続できます。
POINT
  • ハブなどを経由してUSB2.0に対応した機器を接続した場合、ハブの性能によって接続した機器の性能が低下することがあります。
  1. 外部ディスプレイコネクタ(画像
    プロジェクタやアナログディスプレイなど、外部ディスプレイを接続するためのコネクタです。
    「取り扱い」−「表示装置の切り替え」
    「取り扱い」−「マルチモニタ機能」
  2. 転倒防止バー
    パソコン本体をポートリプリケータに接続したときに、転倒するのを防止します。
  3. LANコネクタ(画像
    LANケーブルを接続するためのコネクタです。
    「取り扱い」−「LAN(有線LAN)」
  4. DC-INコネクタ(画像
    ACアダプタを接続するためのコネクタです。
  5. 接続コネクタ
    パソコン本体のポートリプリケータ接続コネクタに接続するためのコネクタです。
  6. ドッキングガイド
    本パソコンをポートリプリケータに正確に取り付けるためのガイドです。
    ポートリプリケータをお使いになる場合は、必ずドッキングガイドをポートリプリケータに取り付けてください。