本ページで紹介している製品は、2013年6月発表のものです。中には現在発売されていないものも含まれています。また、価格や制度につきましては発表当時のものです。ご了承ください。
最新のパソコン製品情報はこちら
グリーンマーク製品の詳細情報はこちら

| 1. | 液晶ディスプレイ |
|---|---|
| 2. | Webカメラ |
| 3. | Webカメラ状態表示LED |
| 4. | デジタルマイク |
| 5. | クイックテレビ[注1]/外部入力ボタン、クイックテレビ[注1]/外部入力ランプ |
| 6. | ECO(エコ)ボタン |
| 7. | 画面オフボタン |
| 8. | 音量調節ボタン |
| 9. | ディスクアクセスランプ( |
| 10. | 録画ランプ[注3] |
|---|---|
| 11. | 電源ボタン、電源ランプ( |
| 12. | 明るさセンサー |
| 13. | リモコン受光部[注3] |
| 14. | 内蔵無線LAN・内蔵Bluetoothワイヤレステクノロジー兼用アンテナ[注2] |
| 15. | スピーカー |
| 16. | キーボード/マウスアンテナ |
| 17. | フット |
| 注1 | : | クイックテレビ搭載機種のみ |
| 注2 | : | BDXL™対応 Blu-ray Discドライブ搭載機種のみ |
| 注3 | : | テレビチューナー搭載機種のみ |

| 1. | miniB-CAS カードスロット( |
|---|---|
| 2. | ダイレクト・メモリースロット |
| 3. | USB3.0コネクタ( |
|---|---|
| 4. | USB2.0コネクタ(電源オフUSB充電機能対応)( |
| 注 | : | テレビチューナー搭載機種のみ |

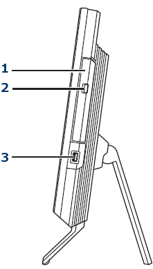
| 1. | BDXL™ 対応 Blu-ray Disc ドライブ[注1]またはスーパーマルチドライブ[注2] |
|---|
| 2. | CD/DVD取り出しボタン |
|---|---|
| 3. | USB2.0 コネクタ( |
| 注1 | : | BDXL™ 対応 Blu-ray Disc ドライブ搭載機種のみ |
| 注2 | : | スーパーマルチドライブ搭載機種のみ |

| 1. | 通風孔 |
|---|---|
| 2. | スタンド |
| 3. | メモリスロット |
| 4. | 盗難防止用ロック取り付け穴( |
| 5. | DC-INコネクタ( |
| 6. | アンテナ入力端子(地上デジタル、BS・110度CSデジタル)( |
| 7. | HDMI入力端子( |
| 8. | USB2.0コネクタ( |
|---|---|
| 9. | USB3.0コネクタ( |
| 10. | LANコネクタ( |
| 11. | ヘッドホン・ラインアウト兼用端子( |
| 12. | マイク・ラインイン兼用端子( |
| 13. | CONNECTボタン |
| 14. | 転倒防止フック |
| 注 | : | テレビチューナー搭載機種のみ |
| * | イラストは機種や状況により異なります。 |
表示 : スマートフォン | パソコン