トップへ 前項目 次項目 索引

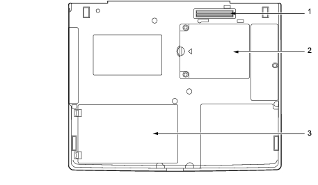
パソコン本体下面

画像

  1. ポートリプリケータ接続コネクタ
    ポートリプリケータを接続するためのコネクタです。
    「ハードウェア」−「ポートリプリケータについて」
  2. 拡張RAMモジュールスロット
    本パソコンのメモリをセットするためのスロットです。
    「ハードウェア」−「メモリについて」
  3. 内蔵バッテリパック
    内蔵バッテリパックが装着されています。
    「ハードウェア」−「バッテリパックを交換する」

トップへ 前項目 次項目 索引

All Rights Reserved, Copyright(c) FUJITSU LIMITED 2002