パソコン本体背面
各番号をクリックすると説明箇所へジャンプします。
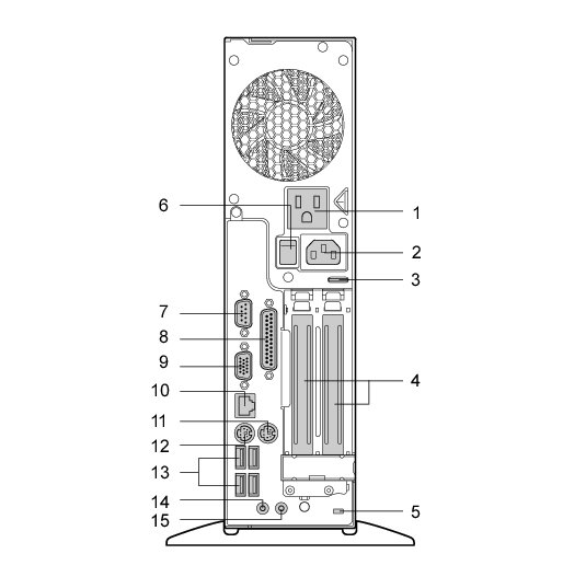
-
- ディスプレイの電源ケーブルを接続します。
-
- 電源ケーブルを接続します。
-
- 市販の鍵を取り付けます。
「セキュリティ」−「パソコン本体の施錠方法」
-
- 本パソコンの機能を拡張する各種拡張カードを取り付けます。PCIに対応した拡張カードを使えます。
SCSIカードを取り付けると、本パソコンで外付けのハードディスクや光磁気ディスクドライブなどが使えるようになります。
「周辺機器の設置/設定/増設」−「拡張カードを取り付ける」
-
- 市販の盗難防止用ケーブルを接続します。
-
- パソコン本体の電源を完全に切る場合に「オフ」にします。「|」側が「オン」で「○」側が「オフ」です。
「オフ」にすると、電源ボタンを押しても、パソコン本体の電源は入りません。通常は「オン」のままお使いください。
ただし、長期間お使いにならない場合は、「オフ」にしてください(→『取扱説明書』)。
シリアルコネクタ(

)
- RS-232C規格に対応した機器を接続します。
パラレルコネクタ(

)
- プリンタやスキャナなどを接続します。
ディスプレイコネクタ(

)
- ディスプレイを接続します。アナログRGB規格のディスプレイケーブルが使用できます。
LANコネクタ(

)
- LANケーブルを接続します。
- LEDの意味は、次のとおりです。
マウスコネクタ(

)
- PS/2マウスを接続します。
「取り扱い」−「マウス」
キーボードコネクタ(

)
- PS/2キーボードを接続します。
「取り扱い」−「キーボード」
USBコネクタ(

)
- USB規格の周辺機器を接続します。USB2.0に準拠しています。
ラインイン端子(

)
- サウンド入力用端子です。オーディオ機器の出力端子と接続します。
ラインアウト端子(

)
- サウンド出力用端子です。オーディオ機器の入力端子と接続します。
スピーカーを直接接続する場合は、アンプ機能内蔵のものをお使いください。
なお、ヘッドホン端子にヘッドホンを接続している場合、ラインアウト端子からは音が出ません。