メモリを取り付ける
ワークステーション本体および接続されている機器の電源を切り、電源プラグをコンセントから抜きます。
サイドカバーを取り外します(
Click
)。
ワークステーション本体を、横置きにします。
ワークステーション本体内部が見えるようにします。
メモリを取り替える場合、スロットの両側のフックを外側に開きます。
フックを勢いよく外側に開くと、メモリが飛び抜け、故障の原因となることがありますので、ご注意ください。
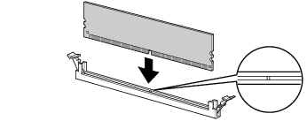
メモリスロットの両側のフックを開いて、メモリを差し込みます。
メモリとスロットの切り欠け部分(1ヶ所)を合わせるようにして、スロットに垂直にメモリを差し込みます。
正しく差し込まれると、スロットの両側のフックが起きます。このとき、フックがメモリをしっかり固定しているか確認してください。
メモリが正しく差し込まれていない場合、火災の原因となることがあります。メモリの向きに注意して、差し込んでください。
ワークステーション本体を、縦置きにします。
サイドカバーを取り付けます。
All Rights Reserved, Copyright© FUJITSU LIMITED 2003-2004