パソコン本体右側面
-
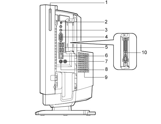
- 外付けのディスプレイを接続します。アナログRGB規格のディスプレイケーブルが使用できます。
「取り扱い」−「ディスプレイ」
- 外付けのディスプレイを接続します。アナログRGB規格のディスプレイケーブルが使用できます。
-
- PS/2マウスを接続します。
「取り扱い」−「マウス」
- PS/2マウスを接続します。
-
- PS/2キーボードを接続します。
「取り扱い」−「キーボード」
- PS/2キーボードを接続します。
-
- カスタムメイドで選択したパラレルコネクタとシリアルコネクタが取り付けられています。
パラレルコネクタやシリアルコネクタにケーブルを接続する場合は、コネクタカバーのスロット部分を開いてください。
「パラレルコネクタやシリアルコネクタにケーブルを接続する場合」
- カスタムメイドで選択したパラレルコネクタとシリアルコネクタが取り付けられています。
